一文搞懂MySQL索引页结构
1. 前言
「页」是InnoDB管理存储空间的基本单位,也是内存和磁盘交互的基本单位。也就是说,哪怕你需要1字节的数据,InnoDB也会读取整个页的数据,下次读取的数据如果恰巧也在这个页里,就能命中缓存了。写也是一样的,写数据前要先把页加载到内存,然后在内存中修改,该页被记为「脏页」,脏页淘汰之前必须刷盘。
InnoDB有很多类型的页,它们的用处也各不相同。比如:有存放undo日志的页、有存放INODE信息的页、有存放Change Buffer信息的页、存放用户记录数据的页等等。今天我们要聊的,就是最基础也是最重要的,存放用户记录数据的「索引页」。
2. 索引页结构
InnoDB默认的页大小是16KB,在初始化表空间之前可以在配置文件中进行配置,一旦初始化完成就不可再变更了。查看页大小的命令如下,显示的是字节数。
索引页结构如下图所示:

索引页由七部分组成,其中Infimum和Supremum也属于记录,只不过是虚拟记录,这里为了与用户记录区分开,还是决定将两者拆开。
| 名称 | 大小 | 描述 |
|---|---|---|
| File Header | 38字节 | 所有页的通用文件头信息 |
| Page Header | 56字节 | 索引页特有的页头信息 |
| Infimum+Supremum | 26字节 | 页中虚拟的最小、最大记录 |
| User Records | 变长 | 用户记录数据 |
| Free Space | 变长 | 空闲空间 |
| Page Directory | 变长 | 页目录,加速页内数据检索效率 |
| File Trailer | 8字节 | 所有页的通用文件尾信息,校验页是否完整 |
2.1 File Header
File Header是所有页都有的一个通用的结构,占用固定的38字节,它记录了页的一些通用的状态信息,例如:页的页号、Checksum、把页串联成双向链表的指针、页的类型等等。
| 名称 | 大小 | 描述 |
|---|---|---|
| FIL_PAGE_SPACE_OR_CHECKSUM | 4字节 | 新版本中代表页的校验和Checksum |
| FIL_PAGE_OFFSET | 4字节 | 页号 |
| FIL_PAGE_PREV | 4字节 | 上一个页的页号 |
| FIL_PAGE_NEXT | 4字节 | 下一个页的页号 |
| FIL_PAGE_LSN | 8字节 | 页面最后被修改时的LSN值 |
| FIL_PAGE_TYPE | 2字节 | 页的类型 |
| FIL_PAGE_FILE_FLUSH_LSN | 8字节 | 仅在系统表空间的第1个页中使用,代表文件至少被刷新到了对应的LSN值 |
| FIL_PAGE_ARCH_LOG_NO_OR_SPACE_ID | 4字节 | 页数据哪个表空间 |
FIL_PAGE_SPACE_OR_CHECKSUM
基于当前页计算出的校验和(Checksum),可以把它看作是哈希值,校验和不同,则两个页数据肯定不同。它的作用是InnoDB在脏页刷盘时,有可能会遇到页刷到一半断电的情况,页的头和尾部分分别记录校验和,只有当头尾的校验和一致的时候,才代表磁盘上的页是完整的,否则就是一个损坏的页。
FIL_PAGE_OFFSET
页号,页的唯一标识,全局递增的数字,InnoDB通过页号来定位唯一的一个页。4字节存储,意味着一个表空间最多可以有232个页,按照一个页16KB计算,则一个表空间最多支持64TB的数据。
FIL_PAGE_PREV & FIL_PAGE_NEXT
一个页大小才16KB,一张表数据其实是由N多个页构成的,页与页之间在物理上可以是不连续的,但是逻辑上要连续,FIL_PAGE_PREV和FIL_PAGE_NEXT分别指向当前页的上一个页和下一个页的页号,通过这两个指针将索引页串联成了一个双向链表。记录与记录之间是单向的,页与页之间是双向的!
FIL_PAGE_LSN
页面最后被修改时,对应的LSN值。LSN的全称是Log Sequence Number,日志序列号。它是一个递增的数字,和事务相关,这里不作赘述。
FIL_PAGE_TYPE
当前页的类型,InnoDB为了不同的目的设计了很多不同类型的页,索引页的固定值是0x45BF。
FIL_PAGE_FILE_FLUSH_LSN
仅在第1个页中使用,用来判断数据库是正常关闭还是异常宕机。
FIL_PAGE_ARCH_LOG_NO_OR_SPACE_ID
仅记录当前页数据哪个表空间。
2.2 Page Header
Page Header是索引页特有的结构,占用固定的56字节,它记录了索引页中记录相关的状态信息。
| 名称 | 大小 | 描述 |
|---|---|---|
| PAGE_N_DlR_SLOTS | 2字节 | 页目录中的槽数量 |
| PAGE_HEAP_TOP | 2字节 | 未使用的空间最小地址,User Records和Free Space分界点 |
| PAGE_N_HEAP | 2字节 | 本页中的记录的数量(包括虚拟记录和删除记录) |
| PAGE_FREE | 2字节 | 第一个删除的记录地址,后续删除的记录会形成链表。 |
| PAGE_GARBAGE | 2字节 | 已删除记录占用的字节数 |
| PAGE_LAST_INSERT | 2字节 | 最后插入记录的位置 |
| PAGE_DIRECTION | 2字节 | 记录插入的方向 |
| PAGE_N_DIRECTION | 2字节 | 同一个方向连续插入的记录数量 |
| PAGE_N_RECS | 2字节 | 该页中记录的数量(不包括虚拟记录和删除记录) |
| PAGE_MAX_TRX_ID | 8字节 | 修改当前页的最大事务ID,仅在二级索引中使用 |
| PAGE_LEVEL | 2字节 | 当前页在B+树中所处的层级 |
| PAGE_INDEX_ID | 8字节 | 索引ID,表示当前页属于哪个索引 |
| PAGE_BTR_SEG_LEAF | 10字节 | B+树叶子段的头部信息,仅在B+树的Root页定义 |
| PAGE_BTR_SEG_TOP | 10字节 | B+树非叶子段的头部信息,仅在B+树的Root页定义 |
不用每个属性都了解,我们挑几个比较重要的看看。
PAGE_N_DlR_SLOTS
一个页内可能有上千条记录,挨个遍历的话效率太慢了。为了提高页内记录的检索效率,InnoDB将页内的记录划分为多个组,组里最大的那条记录相较于页的地址偏移量会记录到「Page Directory」部分,每个组都对应一个槽,槽的大小是固定的2字节。该属性记录的就是页内槽的数量。
PAGE_HEAP_TOP
Free Space的起始位置,它是User Records和Free Space分界点。一个全新的页一开始是没有User Records部分的,每插入一条记录,都要向Free Space申请空间,Free Space耗尽就代表页满了。
PAGE_FREE
DELETE命令删除记录时,InnoDB并不会真的将记录从磁盘中删除,而是在记录的头信息里打个标记,然后将其加入到「垃圾链表」中。PAGE_FREE指向的就是垃圾链表的表头记录。后面删除的记录,也会自动加入到链表里。
PAGE_DIRECTION & PAGE_N_DIRECTION
PAGE_DIRECTION表示最后一条记录插入的方向,比上一条记录值大则记为右边,反之则是左边。PAGE_N_DIRECTION表示同一方向连续插入的记录数,方向变了该值就会重置。
PAGE_LEVEL
InnoDB组织数据的形式就是B+树,树中的节点就是索引页,PAGE_LEVEL代表当前页在B+树中所处的层级。InnoDB规定,叶子节点层级为0,然后向上递增。
2.3 User Records
Infimum和Supremum也属于记录,只是为了与用户记录区分开才划分成了两部分,我们先看User Records。
用户记录存放在User Records部分,一个全新的页一开始全是Free Space,是没有User Records部分的。每插入一条记录都需要到Free Space申请一块空间,并将其划分到User Records用来存放用户记录。当Free Space耗尽也就代表当前页已经用完了,再有新记录需要插入,就需要申请一个新的页了。

还记得MySQL的行格式吗?它决定了记录在磁盘里的存储格式。以COMPACT为例,存储格式如下图:

记录头信息里的字段比较关键,以防大家忘记,我这里再贴一下:
| 名称 | 大小(Bit) | 说明 |
|---|---|---|
| 预留位1 | 1 | 没有使用 |
| 预留位2 | 1 | 没有使用 |
| deleted_flag | 1 | 记录删除标记 |
| min_rec_flag | 1 | B+树非叶子节点的最小目录项标记 |
| n_owned | 4 | 同一页内同一组里最大的记录会记录组里的记录数量,其余记录该值为0 |
| heap_no | 13 | 当前记录在页面堆里的相对位置 |
| record_type | 3 | 记录类型。0:普通记录,1:B+树非叶子节点目录项记录,2:Infimum记录,3:Supremum记录. |
| next_record | 16 | 下一条记录的相对位置 |
记录头信息的最后2字节用来连接下一条记录,将页内所有记录串联成一个单向链表。所以我们隐藏变长字段长度列表和NULL值列表,记录的格式应该是这样的:

记录是怎么排序的?
我们已经知道,页内的记录会自动串联成一个单向链表。那这个链表的编排顺序是什么呢?是按照记录的插入时间排序的吗?其实不是的,如果表有主键,会根据主键排序;没主键有唯一非空索引,会根据该索引排序;两者都没有,InnoDB会自动生成一个row_id列并根据该列进行排序。
若无特殊说明,本文均假定表有主键。
2.4 Infimum & Supremum
Infimum和Supremum是索引页内的两条虚拟记录,InnoDB规定所有索引页都会有这两条记录,而且所有的用户记录都比Infimum大,都比Supremum小。
记录头信息里的heap_no代表记录在堆里的相对位置,该值越小代表记录越靠前。细心的同学会发现,上图中的用户记录heap_no值是从2开始的,那0和1呢?不说你也肯定猜到了,就是被Infimum和Supremum占用了。Infimum和Supremum的heap_no值分别是0和1,它俩在所有用户记录的最前面。
Infimum和Supremum结构非常的简单,和用户记录一样也有头信息,真实数据部分是固定的字符串,如下图所示:

我们把这两条虚拟记录也加入到记录里面,完整的结构就是下面这样的:

Supremum记录的next_record属性为0,代表它已经没有下一条记录了。
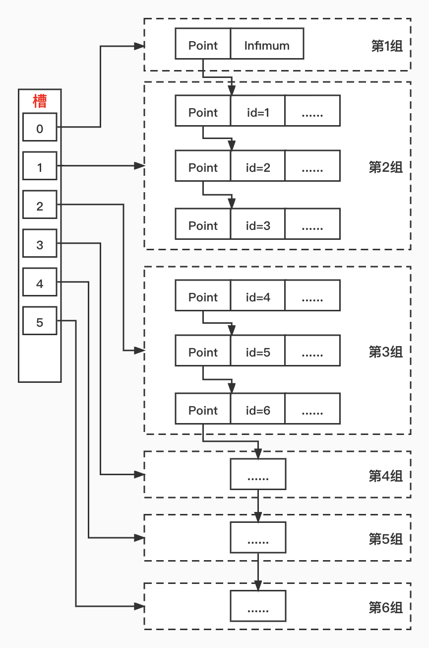
2.5 Page Directory
Free Space没什么好说的,就是一块未被使用的空闲空间。
Page Directory也叫作「页目录」,它的目的是提高页内记录的检索效率。相较于一张表几千万的记录来说,一个页内几百上千条记录已经是很少很少了。可即便如此,它也有几百上千条啊,如果页内检索记录只能挨个遍历的话,那也太低效了。别忘了,页内的记录是根据索引值排好序的,我们可以巧用「二分法」来快速查找。
具体做法是:将页内所有非删除的记录划分为N个组,每个组里最后一条记录(即主键最大的记录)称作“大哥”,其余记录是“小弟”,“大哥”的n_owned属性记录了组内的记录数量。将“大哥”在页内的地址偏移量提取出来,按顺序依次从File Trailer部分往前写,每个地址偏移量占用2字节,称作一个「槽」,Page Directory就是由这些槽构成的。
InnoDB对于分组内的记录数量有一些规定:
- Infimum记录所在分组,只能有一条记录。
- Supremum记录所在分组,允许有1~8条记录。
- 其余分组,允许有4~8条记录。
由此可见,一个组里最多有8条记录,只要通过二分法快速定位到组,InnoDB也只需要遍历这8条记录,相较于遍历页内所有记录,效率要高的多。

2.6 File Trailer
File Trailer是所有页都有的通用结构,占用固定的8字节,它的主要作用就是为了校验页的完整性。磁盘的速度实在是太慢了,InnoDB不会每次写点数据都直接刷新到磁盘上,那样MySQL会慢死。而是将页作为刷盘的基本单位,数据修改时,先改内存里的页,稍后再将整个页的数据一次性刷新到磁盘里。但是这会带来一个问题,一个页16KB,刷到第10KB的时候磁盘断电了怎么办?重启后InnoDB如何判断磁盘里的页数据是完整的?
InnoDB是这么处理的,刷盘前根据页数据计算出一个Checksum,在页头和页尾都写一份。页刷盘的时候,先刷页头再刷页尾,当头尾两个Checksum值一致的时候,代表磁盘里的页是完整的,否则就表示页头刷了页尾没刷,那肯定是刷到一半出错了。
| 大小 | 说明 |
|---|---|
| 4字节 | 页的校验和Checksum |
| 4字节 | 页最后被修改时对应的LSN的后4个字节,正常情况下应该与File Header里的FIL_PAGE_LSN的后4个字节相同。 |
3. 总结
页是InnoDB存取数据的基本单位,默认页大小是16KB,InnoDB为了不同的目的设计了很多不同类型的页,本文重点分析了存放用户记录的索引页。页的头尾部分File Header和File Trailer是所有页都有的一个通用结构,它们记录了页的一些通用状态信息,和Checksum用来验证页的完整性。Page Header是索引页特有的结构,它记录了页内用户记录相关的状态信息。User Records部分用来存放用户记录。另外,由于页内的记录数量也不少,为了提高页内记录的检索效率,InnoDB在索引页中加入了Page Directory,它通过将记录分组,将组里最大的记录的地址偏移量形成一个个槽,Page Directory就是由这些槽构成的。检索数据时,使用二分法快速定位到槽所在的组,就可以避免遍历所有组的记录了。
到此这篇关于MySQL索引页结构的文章就介绍到这了,更多相关MySQL索引页结构内容请搜索以前的文章或继续浏览下面的相关文章希望大家以后多多支持!